



鋰礦石的加工方法有手選法、浮選法、化學或化學浮選聯合法、熱裂法、放射性選擇法、顆粒浮選法,前三種方法都是常用的。該鋰礦石選礦廠主要采用浮選、強磁選等方法。鋰礦石選礦設備常用的有:破碎機、球磨機、分級機、跳汰機、浮選機、磁選機等。




手選和浮選是選別鋰輝石的主要方法,其他方法如熱裂法、磁選法、重選法在鋰輝石精礦生產中起著輔助的和次要的作用。
手選法
手選法是基于鋰礦物與脈石礦物在顏色和外觀上的差異而達到分選目的的一種選別方法。其選別粒度一般為10~25毫米,選別粒度下限的確定,取決于經濟效益。手選是鋰礦生產史上最早使用的選礦方法,除鋰輝石外,手選還用于生產鋰云母、透鋰長石、鋰磷鋁石等鋰精礦。
浮選法
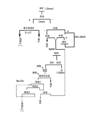
浮選工藝是目前最主要鋰輝石選礦提取工藝,在浮選工藝中,礦漿的攪拌強度、溫度以及浮選藥劑的選擇,是影響鋰輝石浮選工藝的關鍵性因素。通過專家大量實驗表明,在酸性介質中,以十二胺作捕收劑預先浮脈石,浮選尾礦采用碳酸鈉-氫氧化鈉-氯化鈣作組合調整劑、氧化石蠟皂+油酸作混合捕收劑浮選鋰礦物,可得到較高品位的鋰輝石精礦。
水中鈣離子含量對鋰輝石浮選工藝影響比較大,所以水的軟硬不同,調整劑的用量也有所不同。鋰輝石表面常受外界污染,可浮性會下降,在軟水質條件下,使用環烷酸皂可大大提升回收率,所以針對不同性質特點的鋰輝石,要選擇合適的鋰輝石選礦工藝和捕收劑等。
熱裂選礦法
熱裂選礦法是選別鋰輝石礦的一種方法。該法是基于天然鋰輝石在1100℃左右焙燒時,其晶體從α型轉變為β型,同時體積膨脹,易碎成粉末,從而可用選擇性磨礦和篩分達到鋰輝石與脈石礦物間的分離。
重介質選礦法
由于鋰輝石與伴生脈石礦物在密度上的差別不大,采用通常的跳汰、螺旋選礦和搖床選礦等重選方法是不適于鋰輝石礦的選別。但重介質選礦或重液選礦卻是鋰輝石礦的一種有效的選別方法
磁選法
磁選通常作為一種輔助方法用以提高鋰輝石的精礦質量。如美國北卡羅萊納州金絲山選廠浮選生產的鋰輝石精礦含鐵高,只能作化工級精礦出售,為了滿足陶瓷工業的要求,該廠采用磁選除鐵。此外由于鐵鋰云母具弱磁性,可用磁選作為生產鐵鋰云母精礦的主要方法。





破碎機、球磨機、分級機、跳汰機、浮選機、磁選機等。
金鵬對每一個項目都嚴格管理,全程專人跟蹤,保證整體流程的順暢性,設計院跟蹤工程設計,精準定位工藝及其所需產品,不僅保證技術,并為降低客戶成本而選擇最配的工藝。
金鵬做的每一個項目,都給客戶帶去了最佳的效益。得到客戶的一致好評!客戶給金鵬介紹更多的項目,因為他們很是認準金鵬!
如果你有同樣的項目要做,可以直接先咨詢下我們金鵬的專家,讓我們的專家根據你的鋰礦的情況,給你做一個最佳的方案。